Apple ha registrado esta semana 54 patentes, entre ellas se encuentra una que le abre la posibilidad a la empresa de fabricar dispositivos con pantallas flexibles, que podría ser el futuro de la compañía de Cupertino.
El Apple Watch es el primer dispositivo de la empresa que ya cuenta con una pantalla flexible, pero no se puede doblar con facilidad.

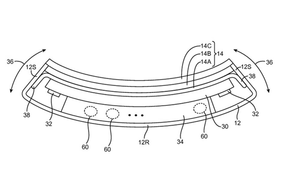
La patente registrada por la empresa lleva el nombre de “Dispositivos electrónicos flexibles” y detalla los implementos que llevaría el aparato, que contaría con una circuitería flexible, lo que le permitiría que se pudiera doblar con facilidad.
Además el registro habla de una pantalla OLED flexible.
- TE PUEDE INTERESAR: Apple y el rapero Dr. Dre preparan una serie de televisión
*Tomado de Actualidad iPhone.





